GENERAREA DE LUMINĂ DE SPECTRU LARG PENTRU APLICAŢII DE FORAJ

Prețul nu e vizibil în cazul acestui pachet

Interes:

Atribuire

Informații publicare:

Nr.: RO131338

Data: 30.08.2016

Inventator(i):

MITCHELL IAN BRADFORD [US]

JAASKELAINEN MIKKO [US]

Aplicant(i):
HALLIBURTON ENERGY SERVICES INC [US]
Clasificare:
Clasificare internationala (IPC):
E21B47/00; G01N21/01; G01V8/02

Clasificare comuna (CPC):
E21B47/00 (NO); E21B47/135 (EP, GB, US); G01N21/01 (NO); G01V8/02 (NO); H01S3/0092 (EP, GB, US); G02F1/3528 (EP, US); G02F1/365 (EP, US); H01S3/0675 (US); H01S3/06762 (EP, US); H01S3/094015 (EP, US); H01S3/094053 (EP, US); H01S3/1616 (EP, US)
Informații aplicație:
Nr.: RO20150000822
Data: 09.05.2014
Număr/numere prioritar(e):
US201313915166 11.06.2013 ; WO2014US37574 09.05.2014
Brevete asociate:
AU2014278696; DE112014001865; DK201500714; EP2994610; GB2530431; MX2015015594; MX363167; NO20151520; PL414722; US2014362431; US9425575; WO2014200639
BOPI:
Descriere:

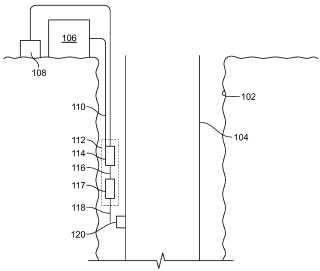
Invenţia se referă la un sistem şi la o metodă pentru generarea de lumină de spectru larg, pentru aplicaţii de foraj. Sistemul conform invenţiei cuprinde: o sursă (106) laser ce produce un impuls de lumină având un prim spectru de lungimi de undă şi un convertor (117) amplasat într-o gaură de foraj (102), sursa (106) laser fiind poziţionată la distanţă de convertor (117), acesta din urmă fiind configurat pentru a recepţiona impulsul de lumină având un prim spectru de lungimi de undă, şi pentru a genera lumină într-un al doilea spectru de lungimi de undă, ce are un domeniu mai larg decât al primului spectru de lungimi de undă. Metoda cuprinde: generarea unui impuls de lumină având un prim spectru de lungimi de undă, în afara unei găuri de foraj, transmiterea impulsului de lumină având primul spectru de lungimi de undă către un amplasament în adânc, în interiorul găurii de foraj, şi conversia impulsului de lumină având primul spectru de lungimi de undă în lumină având un al doilea spectru de lungimi de undă, cu domeniu mai mare decât primul spectru de lungimi de undă.

cover