METODE, SISTEME ŞI SUPORT CITIBIL PE CALCULATOR PENTRU MĂSURAREA ÎNTÂRZIERII UNEI LINII DE COMUNICAŢII UNIDIRECŢIONALE

Prețul nu e vizibil în cazul acestui pachet

Interes:

Atribuire

Informații publicare:

Nr.: RO131470

Data: 28.10.2016

Inventator(i):

RAŢĂ MARIAN [RO]

RĂDOI CODRUŢ DUMITRU [RO]

STANCIU VLAD [RO]

ŢENEA BOGDAN [RO]

Aplicant(i):
IXIA A CALIFORNIA CORP [US]
Clasificare:
Clasificare internationala (IPC):
H04B17/00

Clasificare comuna (CPC):
H04L43/0858 (EP, US); H04L43/106 (EP, US)
Informații aplicație:
Nr.: RO20150000264
Data: 10.04.2015
Număr/numere prioritar(e):
RO20150000264 10.04.2015
Brevete asociate:
US2016301589; US9699051
BOPI:
Descriere:

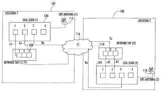
Invenţia se referă la o metodă, un sistem şi un suport citibil de calculator pentru măsurarea întârzierii unei linii de comunicaţie unidirecţionale. Metoda conform invenţiei include: transmiterea unui prim pachet de la un prim dispozitiv de reţea, interceptarea pasivă a primului pachet de date, transmiterea unei prime copii a primului pachet la primul dispozitiv de reţea, şi transmiterea unei a doua copii a primului pachet unui al doilea dispozitiv de reţea, înregistrarea la nivelul primului dispozitiv de reţea a unui timp de recepţie a primei copii a primului pachet, ca un marcaj de timp de origine, înregistrarea la nivelul celui de-al doilea dispozitiv de reţea a unui timp de recepţie a celei de-a doua copii a primului pachet ca un marcaj de timp de recepţie, transmiterea unui al doilea pachet de la primul dispozitiv de reţea, pachet care include marcajul timpului de origine, interceptarea pasivă a celui de-al doilea pachet şi transmiterea unei prime copii a celui de-al doilea pachet la al doilea dispozitiv de reţea, recepţionarea la nivelul celui de-al doilea dispozitiv a primei copii a celui de-al doilea pachet, şi extragerea marcajului de timp de origine din prima copie a celui de-al doilea pachet, şi calcularea întârzierii liniei de comunicaţie de la primul dispozitiv de reţea la al doilea dispozitiv de reţea, utilizând marcajul de timp de origine şi marcajul de timp de recepţie. Invenţia poate fi implementată sub formă hardware, software, firmware sau orice combinaţie a acestora. Într-o variantă, invenţia poate fi implementată sub forma unui suport non-tranzitoriu care poate fi citit de calculator şi care are stocate instrucţiuni care, atunci când sunt executate de un procesor, comandă calculatorul să efectueze paşii metodei conform invenţiei.

cover