MONITORIZAREA DISPOZITIVELOR ÎN CÂMP PRINTR-O REŢEA DE COMUNICAŢII

Prețul nu e vizibil în cazul acestui pachet

Interes:

Atribuire

Informații publicare:

Nr.: RO131815

Data: 28.04.2017

Inventator(i):

CINCEA CORNELIU [RO]

TOPORAN BOGDAN [RO]

Aplicant(i):
BRISTOL INC D/B/A/ REMOTE AUTOMATION SOLUTIONS [US]
Clasificare:
Clasificare internationala (IPC):
G05B19/048; H04L29/02

Clasificare comuna (CPC):
G05B19/00 (RU); G05B19/4185 (CN, RU); G05B23/02 (RU); G05B23/0205 (US); H04L12/00 (RU); H04L12/40013 (EP, US); H04L43/065 (EP, US); H04L43/0805 (EP, US); H04L43/0817 (EP, US); G05B2219/32404 (CN); H04L2012/40208 (EP, US); H04L2012/4026 (EP, US); Y02P90/02 (EP)
Informații aplicație:
Nr.: RO20150000705
Data: 29.09.2015
Număr/numere prioritar(e):
RO20150000705 29.09.2015
Brevete asociate:
AU2016330769; BR112018006334; CA3000001; CN106843166; CN206833229; EP3357198; MX2018003858; RU2731255; SA518391191; US10197996; US2017090467; WO2017059047
BOPI:
Descriere:

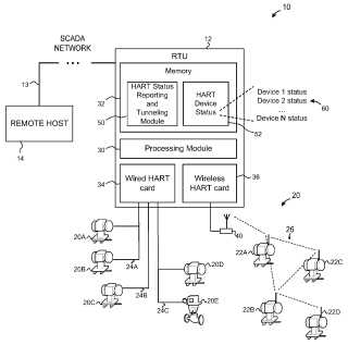
Invenţia se referă la o metodă şi la un sistem de monitorizare a stării unor dispozitive din câmp, printr-o reţea de comunicaţii, putând fi utilizate, de exemplu, în cadrul sistemelor distribuite pentru controlul proceselor din fabricile chimice, petroliere sau alte fabrici de prelucrare pentru comunicarea cu dispozitive din câmp, cum ar fi, de exemplu, supape, comutatoare, senzori de temperatură, presiune, nivel şi altele asemenea. Metoda de monitorizare, conform invenţiei, cuprinde recepţionarea, de către o unitate terminală aflată la distanţă (RTU), cuplată cu un dispozitiv de câmp, a unor date ce indică o stare a dispozitivului din câmp, stocarea informaţiei recepţionate într-o memorie a unităţii (RTU), recepţionarea, de către unitate (RTU), de la o gazdă aflată la distanţă, printr-o reţea de comunicaţii, a unei cereri privind starea dispozitivului din câmp, şi furnizarea de către unitate (RTU), ca răspuns la cerere, a unei indicaţii privind starea dispozitivului din câmp, pe baza datelor stocate în memoria unităţii terminale. Sistemul de monitorizare, conform invenţiei, cuprinde: o unitate terminală aflată la distanţă (RTU), cuplată cu o mulţime de dispozitive din câmp, fiecare fiind configurat să efectueze o funcţie corespunzătoare într-o fabrică de prelucrare, în care unitatea (RTU) include: un prim modul de interfaţă, configurat să comunice conform unui protocol digital de automatizare industrială, prin care unitatea (RTU) primeşte date indicatoare ale stărilor dispozitivelor din câmp, o memorie pentru stocarea datelor recepţionate, şi un al doilea modul de interfaţă, configurat să comunice cu gazde aflate la distanţă, printr-o reţea de comunicaţii, sistemul cuprinzând şi o gazdă aflată la distanţă de unitate (RTU), gazda fiind configurată să ceară stările dispozitivelor din câmp, şi să recepţioneze de la unitate (RTU) indicaţii privind stările acestora, pe baza datelor stocate în memoria unităţii (RTU).

cover