PACHET CU CAPAC BATANT CONVEX, PENTRU ŢIGĂRI

Prețul nu e vizibil în cazul acestui pachet

Interes:

Atribuire

Informații publicare:

Nr.: RO201200061

Data: 30.05.2017

Inventator(i):

ZHAO JIAN [CN]

REN HONGGUANG [CN]

WANG PENG [CN]

LIU HONGBING [CN]

QU JUN [CN]

LI WEN [CN]

MOU DINGRONG [CN]

ZHU XIONGWEI [CN]

Aplicant(i):
HONGTA TOBACCO (GROUP) CO LTD [CN]
Clasificare:
Clasificare internationala (IPC):
B65D85/10

Clasificare comuna (CPC):
B65D85/1056 (EP, US)
Informații aplicație:
Nr.: RO20120000061U
Data: 31.12.2010
Număr/numere prioritar(e):
CN201020124176U 05.03.2010 ; WO2010CN02231 31.12.2010
Brevete asociate:
CN201604848; RU133107; WO2011106921
BOPI:
Descriere:

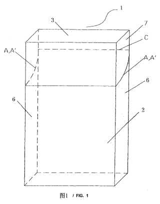
Invenţia se referă la un pachet pentru ţigări şi, în special, la un pachet cu capac batant convex, pentru ţigări. Pachetul conform invenţiei cuprinde un corp (2) şi un capac (3), partea superioară a unui perete (4) din spate al corpului (2) este conectată cu partea inferioară a unui perete (5) din spate al capacului (3), partea superioară a fiecăruia dintre cei doi pereţi (6) laterali ai corpului (2) este de forma unui arc (A) concav, şi partea inferioară a fiecăruia dintre cei doi pereţi (7) laterali ai capacului (3) este de forma unui arc (A') convex, complementar cu cea a părţii superioare a fiecăruia dintre pereţii (6) laterali ai corpului (2).

cover