PACHET CU CAPAC BATANT CONCAV, PENTRU ŢIGĂRI

Prețul nu e vizibil în cazul acestui pachet

Interes:

Atribuire

Informații publicare:

Nr.: RO201200062

Data: 30.05.2017

Inventator(i):

ZHAO JIAN [CN]

REN HONGGUANG [CN]

WANG PENG [CN]

LIU HONGBING [CN]

LI WEN [CN]

QU JUN [CN]

MOU DINGRONG [CN]

ZHU XIONGWEI [CN]

Aplicant(i):
HONGTA TOBACCO (GROUP) CO LTD [CN]
Clasificare:
Clasificare internationala (IPC):
B65D85/10

Clasificare comuna (CPC):
B65D85/1056 (EP, US)
Informații aplicație:
Nr.: RO20120000062U
Data: 31.12.2010
Număr/numere prioritar(e):
CN201020124179U 05.03.2010 ; WO2010CN02232 31.12.2010
Brevete asociate:
CN201597808; RU146065; WO2011106922
BOPI:
Descriere:

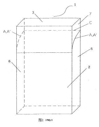
Invenţia se referă la un pachet pentru ţigări şi, în special, la un pachet cu capac batant concav, pentru ţigări. Pachetul conform invenţiei cuprinde un corp (2) şi un capac (3), partea superioară a unui perete (4) din spate al corpului (2) este conectată cu partea inferioară a unui perete (5) din spate al capacului (3), partea superioară a fiecăruia dintre cei doi pereţi (6) laterali ai corpului (2) este de forma unui arc (A), şi partea inferioară a fiecăruia dintre cei doi pereţi (7) laterali ai capacului (3) este în forma unui arc (A'), complementară cu cea a părţii superioare a fiecăruia dintre pereţii (6) laterali ai corpului (2).

cover