DISPOZITIV PENTRU PROCESAREA TERMICĂ CONTINUĂ A PNEURILOR UZATE SAU DEGRADATE ÎN ALT MOD

Prețul nu e vizibil în cazul acestui pachet

Interes:

Atribuire

Informații publicare:

Nr.: RO132100

Data: 30.08.2017

Inventator(i):

VASICEK ALOIS [CZ]

Aplicant(i):
ALPAJAR GROUP S R O [CZ]
Clasificare:
Clasificare internationala (IPC):
C10B49/02; C10G1/10

Clasificare comuna (CPC):
C10B49/02 (EP, AT, CN, US); C10B53/07 (EP, AT, CN, RU, US); C10G1/10 (EP, AT, CN, US); C10K1/04 (EP, AT, CN, US); C10K1/026 (EP, AT, CN, US); Y02P20/143 (EP, CN, US)
Informații aplicație:
Nr.: RO20170000063
Data: 06.08.2015
Număr/numere prioritar(e):
CZ20140000534 07.08.2014 ; WO2015CZ00087 06.08.2015
Brevete asociate:
AT519324; AU2015299450; BG2727; BR112017002229; CA2956104; CL2017000299; CN106661470; CO2017001257; CU20170008; CZ2014534; CZ305732; DE212015000151; DK201700020; DK3177697; EA033221; EA201790333; ECSMU17013385; EE201700008; EP3177697; ES1178783; ES2765727; FI11668; HRP20170228; HRP20200040; HRPK20170228; HUE047449; JP2017528309; KR20170038827; MD1248; MDS20170008; MX2017001698; PE20171023; PH12017500177; PL3177697; PL420438; RS1515; RS59809; RU176143; SG11201700660P; SK292017; SK8214; TN2017000006; US10260002; US2017166817; WO2016019932; ZA201700921
BOPI:
Descriere:

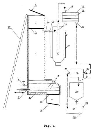
Invenţia se referă la un dispozitiv pentru procesarea termică în mod continuu a anvelopelor uzate sau degradate în alt mod. Dispozitivul conform invenţiei este format dintr-un reactor (1) pentru descompunerea termică a anvelopelor deşeu, prevăzut în partea superioară cu o cameră (2) de încărcare anvelope deşeu, cu o pereche de închideri (3) a spaţiului acestei camere, o cameră (8) de evacuare a părţilor anorganice reziduale, cu o pereche de închideri (9) de evacuare, nişte duze (5) pentru generarea unui mediu inert gazos, cel puţin o deschidere (11) de evacuare a acestui mediu, un separator (12) de particule solide, un răcitor (17) produse organice dispersate sub formă de aerosol, un separator (10) de particule lichide din aerosolul răcit, în legătură cu un rezervor (22) şi nişte ieşiri (21, 23, 25 şi 26) de capăt particule de lichid, respectiv, particule gazoase şi gaze necondensate.

cover