METODĂ ŞI SISTEM DE SECURIZARE A UTILIZĂRII CARTELELOR CU BANDĂ MAGNETICĂ

Prețul nu e vizibil în cazul acestui pachet

Interes:

Atribuire

Informații publicare:

Nr.: RO126347

Data: 30.05.2011

Inventator(i):

MIRCEA TUDOR [RO]

BÎZGAN ADRIAN [RO]

BOANŢĂ VALENTIN [RO]

Aplicant(i):
MB TELECOM LTD S R L [RO]
Clasificare:
Clasificare internationala (IPC):
G06K7/00; G11B33/02

Clasificare comuna (CPC):
G06K13/08 (EP, US); G06K13/085 (EP, US); G06K7/015 (US); G06K7/082 (EP, US); G07F19/2055 (EP, US)
Informații aplicație:
Nr.: RO20100000545
Data: 24.06.2010
Număr/numere prioritar(e):
RO20100000545 24.06.2010
Brevete asociate:
RO126347; CA2803089; EP2601614; US2013087615; US8973825; WO2011162629
BOPI:
Descriere:

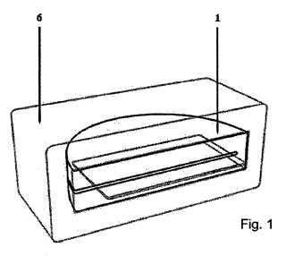
Invenţia se referă la o metodă şi la un sistem de securizare a utilizării cartelelor cu bandă magnetică, pentru prevenirea furtului de informaţii stocate pe bandă. Metoda conform invenţiei constă din preluarea cartelei cu bandă magnetică în poziţie perpendiculară faţă de poziţia normală utilizată în prezent şi rotirea acesteia cu 90°, urmată de introducerea în fluxul uzual, ceea ce face să fie inutil orice dispozitiv de copiere a datelor, care are nevoie, pentru citire, de translatarea benzii magnetice peste un cap de citire. Sistemul conform invenţiei este constituit dintr-un semidisc (1) prevăzut cu o fantă specială de grosimea unei cartele magnetice şi lăţimea unei lungimi de cartelă, un sistem mecanic (2) de încărcare şi rotire a cartelei, senzori (3) pentru detectarea prezenţei şi poziţiei cartelei, nişte motoare electrice (4) pentru angrenarea sistemului mecanic (2), un modul (5) electronic de comandă şi control al ansamblului astfel format şi o cutie (6) de protecţie.

cover