UNEALTĂ CIRCULARĂ PENTRU PRELEVAREA DE PROBE CU MULTIPLE FREZE DE PROBE

Prețul nu e vizibil în cazul acestui pachet

Interes:

Atribuire

Informații publicare:

Nr.: RO127983

Data: 29.11.2012

Inventator(i):

HERSAK GREG [CA]

WRAY RICHARD [CA]

KING JAMES MITCH [CA]

Aplicant(i):
CA ATOMIC ENERGY LTD [CA]
Clasificare:
Clasificare internationala (IPC):
G01N1/08; G21C17/01

Clasificare comuna (CPC):
G01N1/04 (EP); G01N1/286 (KR); G01N2001/2866 (KR); G01N2033/0093 (EP); G21C17/017 (EP); Y02E30/30 (EP)
Informații aplicație:
Nr.: RO20120000230
Data: 30.09.2009
Număr/numere prioritar(e):
WO2009CA01383 30.09.2009
Brevete asociate:
RO127983; AR079597; AR099089; AR099090; CA2776230; CA3004276; CN102597738; KR101727966; KR101859025; KR20120104530; KR20170042825; WO2011038476
BOPI:
Descriere:

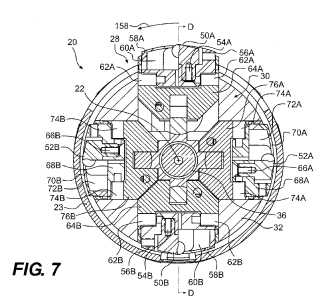
Invenţia se referă la o unealtă şi la o metodă pentru prelevarea de probe din peretele unui tub de presiune cu care este echipat un reactor nuclear, cum ar fi unul de tip Candu. Unealta conform invenţiei este alcătuită dintr-un corp () cilindric, ce este prevăzut cu o axă () centrală şi care cuprinde nişte module () de transport, de acţionare şi, respectiv, de reglare, hidraulic, conectate între ele prin intermediul unor racorduri () flexibile, de corp () fiind montate niştereazeme () acţionate hidraulic, în modulul () de transport fiind plasate, în dreptul unor deschideri () practicate în acesta, nişte ansambluri de freze () care sunt în legătură cu nişte sănii () conectate, prin intermediul unor cuploare () cu caneluri, cu un arbore () de antrenare, acţionat de către un motor () electric. Metoda conform invenţiei constă în deplasările primei freze contra peretelui interior al tubului, şi apoi în arc de cerc, pentru tăierea unei porţiuni din peretele interior, deplasarea primei freze departe de peretele interior şi deplasarea celei de-a doua freze contra primei suprafeţe a tubului, urmată de deplasarea celei de-a doua freze în arc de cerc, pentru tăierea unei prime probe, şi de deplasarea frezei a doua departe de prima suprafaţă; apoi are loc deplasarea celei de-a treia freze contra peretelui interior, şi deplasarea acesteia în arc de cerc, pentru tăierea unei porţiuni din peretele interior, urmând deplasarea celei de-a treia freze departe de peretele interior, şi deplasarea celei de-a patra freze contrar unei a doua suprafeţe a tubului, prin tăierea altei porţiuni a peretelui interior, în final fiind deplasată cea de-a pa

cover