METODE ŞI SISTEM PENTRU ÎMBUNĂTĂŢIREA DEBITULUI UNUI FLUID INDUS DE O UNITATE DE POMPARE CU PRĂJINI

Prețul nu e vizibil în cazul acestui pachet

Interes:

Atribuire

Informații publicare:

Nr.: RO132321

Data: 29.12.2017

Inventator(i):

SINGNAL KALPESH [US]

SIVARAMAKRISHNAN SHYAM [US]

ZAMANIAN FATEMEH [US]

Aplicant(i):
GEN ELECTRIC [US]
Clasificare:
Clasificare internationala (IPC):
F04B47/02; F04B49/06

Clasificare comuna (CPC):
F04B47/02 (US); F04B47/022 (EP, US); F04B49/065 (EP, US); F04B49/12 (EP, US); F04B51/00 (US)
Informații aplicație:
Nr.: RO20170000371
Data: 15.12.2015
Număr/numere prioritar(e):
US201414575819 18.12.2014 ; WO2015US65721 15.12.2015
Brevete asociate:
CA2970320; MX2017008109; US10788031; US2016177941; WO2016100283
BOPI:
Descriere:

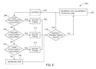
Invenţia se referă la metode şi sistem pentru îmbunătăţirea debitului unui fluid indus de o unitate de pompare cu prăjini. Sistemul conform invenţiei include unul sau mai mulţi senzori şi o unitate de pompare cu prăjini, configurată pentru a controla mişcarea cursei unităţii de pompare cu prăjini, unitatea de comandă de pompare fiind configurată: a. să iniţieze cel puţin o cursă a unităţii de pompare cu prăjini, b. să recepţioneze date de senzori de la unul sau mai mulţi senzori; c. după o determinare a unei încălcări a unui prim set de constrângeri, să realizeze o primă reglare a sincronizării curente a cursei, şi revenirea la etapa a; d. după o determinare a unei încălcări a unui al doilea set de constrângeri, să realizeze o a doua reglare a sincronizării curente a cursei, şi revenirea la etapa a; şi e. după determinarea niciunei încălcări cel puţin a unui set de constrângeri, să realizeze o a treia reglare a sincronizării curente, şi revenirea la etapa a.

cover