MAŞINĂ ŞI METODĂ DE TĂIAT CARNE ÎN CUBURI

Prețul nu e vizibil în cazul acestui pachet

Interes:

Atribuire

Informații publicare:

Nr.: RO129769

Data: 30.09.2014

Inventator(i):

TOMPEA PETRU [RO]

Aplicant(i):
TOMPEA PETRU [RO]
Clasificare:
Clasificare internationala (IPC):
B26D1/03

Clasificare comuna (CPC):
A22C17/002 (EP); B26D1/11 (EP); B26D3/18 (EP); B26D3/20 (EP); B26D7/0608 (EP)
Informații aplicație:
Nr.: RO20130000216
Data: 12.03.2013
Număr/numere prioritar(e):
RO20130000216 12.03.2013
Brevete asociate:
RO129769; WO2014142694
BOPI:
Descriere:

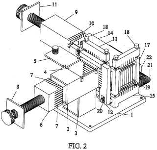
Invenţia se referă la o maşină şi la o metodă de tăiere a produselor alimentare în cuburi de dimensiuni reglabile, în special a cărnii proaspete sau congelate. Maşina conform invenţiei este constituită din două camere () rectangulare, poziţionate perpendicular una faţă de cealaltă, în care culisează nişte împingătoare (), trei cadre () cu cuţite lamelare, care pendulează în lagăre (), montate pe camera rectangulară () cu nişte tije (), sunt acţionate de motorul electric () prin intermediului axului () cu excentric şi a reductorului (), împingătoarele () fiind prevăzute cu limitatoarele () de cursă şi cu nişte degajări (), pentru a pătrunde printre cuţite. Metoda conform invenţiei constă în introducerea cărnii printr-o gură () în camera () rectangulară, se închide capacul (), se împinge carnea în împingător () printre cuţitele cadrului () care pendulează stânga-dreapta, şi cuţitele cadrului () care pendulează sus-jos, tăind carnea în fâşii cu secţiunea pătrată, care trec mai departe în camera () rectangulară, de unde sunt împinse cu împingătorul () printre cuţitele cadrului () care pendulează sus-jos, tăind fâşiile în cuburi.

cover