ÎMBUNĂTĂŢIRI ALE METODELOR DE PRODUCERE A ŞIRURILOR DE LENTILE

Prețul nu e vizibil în cazul acestui pachet

Interes:

Atribuire

Informații publicare:

Nr.: RO127445

Data: 30.05.2012

Inventator(i):

MOON JONATHAN A [NZ]

ROBERTS DAVID E [US]

Aplicant(i):
SECURENCY INT PTY LTD [AU]
Clasificare:
Clasificare internationala (IPC):
B42D15/10; G02B3/00; G02B30/27

Clasificare comuna (CPC):
B42D25/00 (GB, KR); B42D25/29 (EP, US); B42D25/351 (KR); G02B27/06 (US); G02B3/00 (AT, KR); G02B3/0006 (GB); G02B3/0012 (US); G02B3/0025 (US); G02B3/0037 (GB, US); G02B3/005 (EP, US); G02B3/0056 (EP, GB, US); G02B30/00 (KR); G02B30/27 (GB, US); G03B25/02 (US); G06F30/00 (US); B42D25/30 (US); B42D25/324 (EP, US); G03B5/04 (US); H04N13/305 (EP, US)
Informații aplicație:
Nr.: RO20110000837
Data: 03.03.2010
Număr/numere prioritar(e):
US20090157309P 04.03.2009 ; WO2010AU00243 03.03.2010
Brevete asociate:
RO127445; AR075794; AT510245; AU2010220815; BE1019207; BRPI1006520; CA2753848; CH702978; CL2011002092; CN102405434; CO6420377; DE112010000957; FR2942885; GB2481330; GB2515208; GB2515209; HK1162685; JP2012519305; JP2017027063; JP6110068; KR101777834; KR20110123280; MX2011008909; PE20120724; SG174172; US2012033305; US2014160572; US8537469; US9442224; WO2010099571; ZA201106427
BOPI:
Descriere:

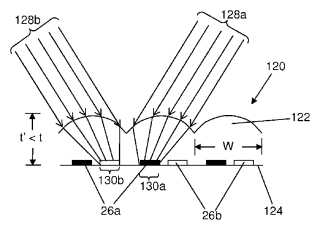
Invenţia se referă la o metodă pentru proiectarea şi fabricarea unui şir de lentile şi la un şir de lentile produse cu această metodă. Metoda de fabricare a unui şir de lentile conform invenţiei constă în determinarea unui parametru de scară, care este reprezentativ pentru dimensiunea elementelor imaginii în cel puţin o parte a unui plan obiect, apoi folosirea parametrului de scară pentru a optimiza grosimea standard şi/sau cel puţin un parametru al unui set de parametri al lentilei, pentru fiecare dintre nişte lentile mici şi formarea şirului de lentile cu grosimea standard menţionată şi cu parametrii lentilei menţionaţi în/sau pe o parte a unui material transparent sau translucid, cu elementele imaginii dispuse pe partea opusă a materialului transparent sau translucid, lentilele mici având o dimensiune a punctului focal în planul obiect care este egală, în mod substanţial, cu dimensiunea elementelor imaginii sau care variază de la dimensiunea elementelor imaginii printr-o valoare predeterminată. Şirul de lentile conform invenţiei conţine o multitudine de lentile () mici, formate în/sau pe o parte a unui material transparent sau translucid, cu elementele imaginii dispuse pe partea opusă, având o grosime () standard corespunzătoare distanţei de la apexul fiecărei lentile () mici la un plan () obiect, fiecare lentilă () mică având un set de parametri ai lentilei, cu o grosime () standard şi/sau cel puţin un parametru al lentilei optimizat, astfel încât fiecare lentilă () mică are o dimensiune a unui punct () focal în planul () obicet care este egală, în mod susbstanţial, cu dimensiunea elementelor imaginii planului () obiect

cover