PLATFORMĂ PENTRU O PRIZĂ ELECTRICĂ CU EXTRACTOR, ŞI PRIZĂ ÎN CARE PLATFORMA ESTE PLASATĂ

Prețul nu e vizibil în cazul acestui pachet

Interes:

Atribuire

Informații publicare:

Nr.: RO132793

Data: 30.08.2018

Inventator(i):

RISTEA SILVIU [RO]

Aplicant(i):
RISTEA SILVIU [RO]
Clasificare:
Clasificare internationala (IPC):
H01R13/506; H01R13/62

Clasificare comuna (CPC):
H01R13/633 (EP); H01R13/635 (EP)
Informații aplicație:
Nr.: RO20170000108
Data: 24.02.2017
Număr/numere prioritar(e):
RO20170000108 24.02.2017
Brevete asociate:
RO132793; EP3586407; WO2018156040
BOPI:
Descriere:

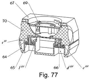
Invenţia se referă la o platformă pentru o priză electrică cu sau fără împământare, cu extractor pentru extragerea unei fişe, şi la o priză în care platforma este plasată. Platforma, conform invenţiei, este constituită fie din nişte platforme (E, F) independente, autocolante, fixate de o fişă (D), fie din nişte platforme (H, K, V, D') libere, ghidate lateral, fie din nişte platforme (O, R, Y, H', K') libere, ghidate inferior. Priza, conform invenţiei, este constituită fie din unul dintre nişte corpuri (11, 18, 40, 55) prevăzute cu nişte pereţi (x, r'', x, p) cilindrici, subţiri, în care sunt practicate nişte canale (r', h''', g, v) plasate diametral opus, pentru ghidarea platformelor (H, K, V, D') libere, ghidate lateral, fie din unul dintre nişte alte corpuri (25, 33, 49), în care sunt prevăzute câte două dintre nişte ghidaje (o, e, c) tubulare, inferioare, exterioare, pentru poziţionarea ghidajelor (i, b, k) tubulare, inferioare, ale platformelor (O, R, Y) libere, ghidate inferior, susţinute în poziţia superioară, pentru prize duble de tip "E", respectiv de tip "C", şi, respectiv, cu autopoziţionare în poziţia superioară, fie din unul dintre nişte corpuri (60, 67) în care sunt practicate două fante (z), respectiv două găuri (z) străpunse, în care sunt dispuse nişte ghidaje (a, a) elastice ale corpurilor (63, 69) platformelor (H', K') libere, ghidate inferior, cu autoblocare în poziţia superioară şi, respectiv, cu poziţionare superioară, comandată.

cover