INSTALAŢIE DE CLIMATIZARE ŞI RĂCIRE A MOTORULUI PENTRU AUTOVEHICULE, CU AJUTORUL GAZELOR DE EVACUARE

Price not visible for this package

Interest:

Assignment

Publication info:

No.: RO130985

Date: 30.03.2016

Inventor(s):

SFERCOCI PETRU [DE]

Applicant(s):
SFERCOCI PETRU [DE]
Classification:
International patent classification (IPC):
F01P5/08

Cooperative patent classification (CPC):
B60H1/18 (EP); B60H1/32 (EP); F01N13/082 (EP); F01N3/0205 (EP); F01N5/02 (EP); F01P5/08 (EP); F28D7/103 (EP); F28D7/106 (EP); F28F1/32 (EP); F01N2260/022 (EP); F01N2470/24 (EP); F01N2470/30 (EP); F28F2009/0287 (EP); Y02T10/12 (EP)
Application info:
No.: RO20150000376
Date: 03.06.2015
Priority number(s):
RO20150000376 03.06.2015
Related patents:
EP3356167; WO2016195524
BOPI:
Description:

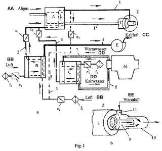
Invenţia se referă la o instalaţie de climatizare şi răcire a motorului cu ardere internă, cu ajutorul gazelor de evacuare ce funcţionează fără a consuma nimic din puterea motorului, şi care poate fi utilizată în industria constructoare de maşini, mijloace de transport marfă şi persoane, autospeciale, tractoare, maşini agricole, utilaje speciale pentru construcţii, şi alte utilaje antrenate de motoare cu ardere internă. Instalaţia conform invenţiei este alcătuită dintr-un aspirator (A) cu ţevi multiple, un schimbător de căldură (B), nişte filtre (f, f, fşi f) pentru filtrarea aerului atmosferic, şi nişte electroclapete (e,..., e) reglabile, cu ajutorul cărora se reglează debitul de aer care circulă prin conducte, şi care sunt comandate de un calculator de bord sau de o unitate electronică separate, de comandă, aspiratorul (A) absorbind aerul atmosferic printr-un filtru (f), electroclapetă (e), schimbătorul (B) de căldură, o conductă (2), altă electroclapetă (e), aerul intră în aspirator (A), de unde, printr-o conductă (3), este trimis într-o ţeavă (T) a tobei de eşapament, unde se amestecă apoi cu gazul de evacuare, şi este eliminat în atmosferă, iar în schimbătorul (B) de căldură, acest circuit de aer răceşte în nişte ţevi (4, 5 şi 6) concentrice aerul din al doilea circuit (4), aer care este trimis de o suflantă (E) în interiorul maşinii, circuitul (4) fiind compus dintr-o suflantă (E) care absoarbe aerul atmosferic prin filtru (f), electroclapetă (e) şi schimbător (B) de căldură, aerul trebuind să fie filtrat foarte bine de impurităţi, polen, alte substanţe alergene, cu asigurarea unei anumite umidităţi.

cover