SUPORT PENTRU UN DISPOZITIV DE REGLARE PE INĂLŢIME A UNEI STRUCTURI DE VEHICUL

Price not visible for this package

Interest:

Assignment

Publication info:

No.: RO130970

Date: 30.03.2016

Inventor(s):

HUSU ADRIAN [RO]

DOBRE FLORIN [RO]

Applicant(s):
SCHAEFFLER TECHNOLOGIES AG [DE]
Classification:
International patent classification (IPC):
B60G13/02; B60G9/00; B62D33/06

Cooperative patent classification (CPC):
B60G15/063 (EP); B60G17/021 (EP); B60G2202/42 (EP); B60G2204/1242 (EP); B60G2204/12422 (EP); B60G2500/30 (EP)
Application info:
No.: RO20140000720
Date: 24.09.2014
Priority number(s):
RO20140000720 24.09.2014
Related patents:
DE102014226155
BOPI:
Description:

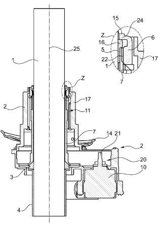
Invenţia se referă la un suport pentru un dispozitiv de reglare pe înălţime a unei structuri de vehicul. Suportul conform invenţiei este prevăzut cu un manşon (7) adaptor, care este realizat pentru dispunerea radială pe exterior a dispozitivului de reglare pe înălţime, şi pentru cuprinderea unui amortizor (1), iar pentru implementarea unei izolaţii de vibraţie, este propus ca manşonul (7) adaptor să fie susţinut în raport cu o axă (25) a amortizorului (1) axial, într-o parte, prin intermediul unui inel (3) elastic, sau axial, în două părţi, prin intermediul primului inel (3) elastic, şi un al doilea inel (5) elastic, astfel încât, prin utilizarea unui dispozitiv pentru reglarea pe înălţime în vehicul, nu este necesar să se renunţe la o izolaţie de vibraţie, lucru prin care apare un confort în timpul mersului considerabil sporit.

cover