SUPAPĂ DE COMANDĂ CU SUPAPĂ DE REFULARE

Price not visible for this package

Interest:

Assignment

Publication info:

No.: RO131061

Date: 29.04.2016

Inventor(s):

KOVACS MIHALY [RO]

Applicant(s):
SCHAEFFLER TECHNOLOGIES AG [DE]
Classification:
International patent classification (IPC):
F16K15/14

Cooperative patent classification (CPC):
F01L1/047 (US); F01L1/3442 (EP, US); F16K11/0716 (EP, US); F16K15/142 (EP, US); F01L2001/34426 (EP, US); F01L2001/34433 (EP, US)
Application info:
No.: RO20140000763
Date: 14.10.2014
Priority number(s):
RO20140000763 14.10.2014
Related patents:
CN106795973; DE112015004741; US10260383; US2017241303; WO2016058600
BOPI:
Description:

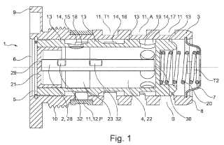
Invenţia se referă la o supapă proporţională cu căi, care poate fi utilizată ca supapă controlată, în particular, pentru comanda unui regulator cu ax cu came, pentru regularizarea funcţionării unui motor cu ardere. Supapa conform invenţiei are o carcasă (3) şi un piston (4) de comandă, ghidat axial într-un locaş al carcasei (3), precum şi o supapă (2) de refulare, dispusă în interiorul unei cavităţi (22) cilindrice a pistonului (4), care constă dintr-o bandă (23) elastică, înfăşurată astfel încât să formeze un arc de supapă cilindric, cu capete suprapuse, în care banda (23) elastică la un capăt (24), pe interior, se transformă într-un element (28) de distanţare care se extinde axial, ale cărui extremităţi (29 şi 30) axiale pot fi aduse în contact cu partea interioară a suprafeţei frontale a pistonului (4) de comandă, un element (28) de distanţare dispunând de o suprafaţă uniformă, care, într-o porţiune axială a elementului (28) de distanţare, este întreruptă printr-o ridicătură (32).

cover