INSTALAŢIE MULTIFUNCŢIONALĂ AUTONOMĂ PENTRU OPTIMIZAREA FUNCŢIONĂRII LOCOMOTIVEI DIESEL

Price not visible for this package

Interest:

Assignment

Publication info:

No.: RO131114

Date: 30.05.2016

Inventor(s):

MARCU MIHAI [RO]

Applicant(s):
MARCU MIHAI [RO]
Classification:
International patent classification (IPC):
B60L50/10; B61C17/04

Cooperative patent classification (CPC):
B61C17/12 (EP); B61C5/00 (EP)
Application info:
No.: RO20160000008
Date: 06.01.2016
Priority number(s):
RO20160000008 06.01.2016
Related patents:
EP3452354; WO2017119826
BOPI:
Description:

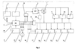
Invenţia se referă la o instalaţie multifuncţională autonomă, pentru optimizarea funcţionării unei locomotive diesel, independentă energetic faţă de sursele existente pe locomotivă, sau faţă de sursele energetice exterioare acesteia. Instalaţia conform invenţiei cuprinde un grup (1) auxiliar, format dintr-un motor diesel şi un generator sincron trifazat, racordat la o instalaţie (4) de combustibil a unei locomotive aflate în regim activ, şi la o instalaţie (5) de răcire a motorului diesel de tracţiune fie direct, fie printr-un schimbător (30) de căldură, un adaptor (8) de tensiune prin care se conectează la instalaţia electrică a locomotivei, pentru alimentarea unor servicii auxiliare, cum ar fi o instalaţie (12) de siguranţă şi vigilenţă, o instalaţie (13) de climatizare a cabinei de conducere, un sistem de comenzi (14) ale locomotivei, o instalaţie (15) de iluminat şi semnalizare, alte servicii (16) auxiliare specifice diferitelor tipuri de locomotive, un compresor (17) de aer comprimat, antrenat electric şi alimentat fie în curent continuu, fie în curent alternativ trifazat, printr-un adaptor (18) de tensiune, care încarcă o baterie (7) de acumulatori, un sistem (9) de diagnoză şi înregistrare date, un sistem (10) de transmitere la sol a parametrilor de funcţionare şi eventualelor avarii, un display (11) montat în postul de conducere, pentru afişarea parametrilor de funcţionare, un automat (3) programabil, ce realizează comanda şi monitorizarea, un adaptor (28) de tensiune prin intermediul căruia participă la pornirea unui motor (6) diesel de tracţiune, împreună cu bateria (7) de acumulatori, şi un adaptor (20) de tensiune ce alimentează un motor sau două motoare electrice de tracţiune, pentru deplasarea locomotivei în depouri şi staţii.

cover