INSTALAŢIE DE EXPLOATARE A ZĂCĂMINTELOR DE FLUIDE NATURALE, DE EXEMPLU, ŢIŢEI, GAZ NATURAL SAU ALTE FLUIDE CONŢINÂND HIDROCARBURI EXTRASE

Price not visible for this package

Interest:

Assignment

Publication info:

No.: RO129657

Date: 30.07.2014

Inventor(s):

DI VINCENZO STEFANO [IT]

CITI GLANFEDERICO [IT]

Applicant(s):
ENI SPA [IT]
Classification:
International patent classification (IPC):
E21B33/035; E21B33/038

Cooperative patent classification (CPC):
E21B33/0355 (EP); E21B33/0385 (EP); E02B17/021 (EP)
Application info:
No.: RO20130000989
Date: 20.06.2012
Priority number(s):
IT2011MI01112 20.06.2011 ; WO2012EP61796 20.06.2012
Related patents:
RO129657; DE112012002553; ITMI20111112; RU2013155769; WO2012175540
BOPI:
Description:

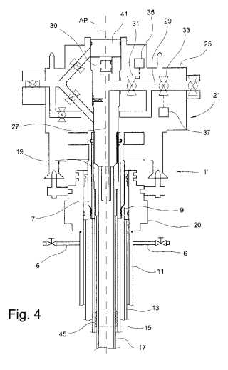
Invenţia se referă a o instalaţie pentru exploatarea unui zăcământ natural, subacvatic de fluide, cum ar fi ţiţei, gaze naturale sau alte fluide conţinând hidrocarburi, prin nişte găuri săpate, având axa orizontală. Instalaţia conform invenţiei are în componenţă un pom (21) de Crăciun format dintr-un corp (25) de supapă ce este fixat pe un cap (1') de coloană în care sunt prevăzute nişte conducte (27 şi 29) de extracţie, cel puţin una dintre nişte supape (31 şi 33) de comandă a extracţiei, plasată în corpul (25) supapei, prima conductă (27) amintită fiind plasată coaxial faţă de axa (AP) secţiunii printr-un puţ, cea mai apropiată de suprafaţă sau de fundul pe care este situat pomul (21) de Crăciun, a doua conductă (29) amintită fiind o ramificaţie din cealaltă conductă (27) care se extinde transversal faţă de aceasta, cel puţin una dintre supapele (31 şi 33) de comandă a extracţiei fiind poziţionată în lungul celei de-a doua conducte (29), cel puţin una dintre supapele (31 şi 33) de comandă a extracţiei fiind acţionată electric. Metoda conform invenţiei constă în asigurarea unei platforme (50) cuprinzând o cocă (52) plutitoare şi unul sau mai multe picioare (54) extensibile, fixate la cocă (52), transportarea pomului (1') de Crăciun la o locaţie de montaj predeterminată cu ajutorul platformei (50), extinderea unuia sau mai multor picioare (54) extensibile, astfel încât să se sprijine pe fundul (SB) mării sau alt fund submers, sub platformă (50), ridicarea cocăi (52) plutitoare deasupra nivelului mării sau nivelului unei alte ape, astfel încât coca (52) să fie susţinută de unul sau mai multe picioare (54) extensibile, c

cover