METODE, SISTEME ŞI SUPORT CITIBIL PE CALCULATOR PENTRU INIŢIEREA ŞI EXECUŢIA TESTELOR DE PERFORMANŢĂ A UNEI REŢELE PRIVATE ŞI/SAU A COMPONENTELOR ACESTEIA

Price not visible for this package

Interest:

Assignment

Publication info:

No.: RO131306

Date: 29.07.2016

Inventor(s):

NISTUR PAVEL MARIUS [RO]

Applicant(s):
IXIA A CALIFORNIA CORP [US]
Classification:
International patent classification (IPC):
H04L12/26

Cooperative patent classification (CPC):
H04L41/0806 (EP, US); H04L43/50 (EP, US); H04L61/256 (EP, US); H04L61/2578 (EP, US); H04L63/029 (EP, US); H04L69/16 (EP, US); H04L69/30 (EP, US); H04L61/2514 (EP, US); H04W84/105 (US)
Application info:
No.: RO20140000994
Date: 16.12.2014
Priority number(s):
RO20140000994 16.12.2014
Related patents:
US10110556; US2016173444
BOPI:
Description:

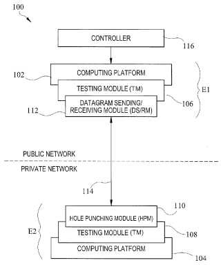
Invenţia se referă la o metodă, la un sistem şi la un suport citibil de calculator, pentru iniţierea şi execuţia testelor de performanţă ale unei reţele private şi/sau ale componentelor acesteia. Metoda conform invenţiei constă în iniţierea, într-un punct de capăt receptor, dintr-o reţea privată, a unei conexiuni la nivelul stratului de transport, cu un punct de capăt expeditor dintr-o reţea publică, alocarea în scopuri de testare, la nivelul punctului de capăt expeditor, a unui port, legarea la port şi transmiterea unei adrese IP şi a unui număr al portului prin conexiunea de la nivelul stratului de transport, transmiterea, la nivelul punctului de capăt receptor, a unei datagrame de perforare a unei breşe de comunicaţie, de la reţeaua privată la reţeaua publică, pentru a crea o breşă într-un firewall care separă reţelele publică şi privată, şi, la nivelul punctului de capăt expeditor, recepţionarea datagramei de perforare a breşei de comunicaţie, şi folosirea adresei IP şi a informaţiilor referitoare la port din datagrama de perforare a breşei de comunicaţie, pentru a transmite trafic de testare la punctul de capăt receptor din reţeaua privată, prin breşa creată în firewall. Sistemul (100) conform invenţiei cuprinde un punct de capăt receptor (E2) într-o reţea privată, şi un punct de capăt expeditor (E1) într-o reţea publică, ce sunt configurate să efectueze etapele metodei conform invenţiei. Suportul citibil de calculator are stocate instrucţiuni care, atunci când sunt executate de către un procesor sau de un calculator, efectuează etapele metodei conform invenţiei.

cover