PACHET PENTRU PRODUSE DIN INDUSTRIA TUTUNULUI

Price not visible for this package

Interest:

Assignment

Publication info:

No.: RO201700022

Date: 28.09.2018

Inventor(s):

BRAY ANDREW JONATHAN [GB]

FALLON GARY [GB]

GIBSON PAUL [GB]

Applicant(s):
BRITISH AMERICAN TOBACCO INVESTMENTS LTD [GB]
Classification:
International patent classification (IPC):
B65D75/58; B65D85/10

Cooperative patent classification (CPC):
B65B19/12 (US); B65B19/22 (US); B65B51/02 (US); B65B61/06 (US); B65D65/40 (KR, US); B65D75/04 (US); B65D75/5855 (US); B65D77/02 (KR, US); B65D85/10 (DK, RU); B65D85/10568 (EP, KR, US); B65D85/1081 (KR); B65D2575/586 (EP, KR, US); B65D75/5855 (EP)
Application info:
No.: RO20170000022U
Date: 25.11.2015
Priority number(s):
GB20140021707 05.12.2014 ; WO2015GB53593 25.11.2015
Related patents:
AR102934; BR112017011919; BR212017011919; CA2969173; CL2017001428; CN208616556; DK201900001; DK201900052; DK201900053; EP3227202; EP3572352; EP3575240; ES1196858; ES2751485; JP3215711; KR200488168; KR20170002538; PH22017500004; PL126467; PL3227202; PL70549; RU178493; TR201708148; TW201632433; TWI589500; UA121003; US10266336; US10815048; US10815049; US2017334634; US2019193925; US2019300272; WO2016087819; ZA201703437; ZA201907861; ZA201907862
BOPI:
Description:

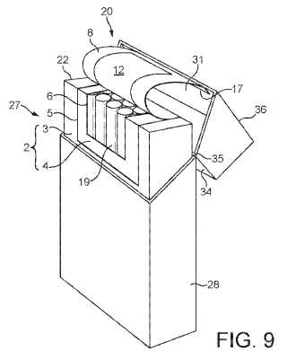
Invenţia se referă la un pachet pentru produse din industria tutunului, cum ar fi articolele pentru fumat. Pachetul conform invenţiei cuprinde un grup de produse înfăşurate într-un laminat (2) pentru a forma un mănunchi (22), o bază (28) care conţine mănunchiul (22), şi un capac (30) montat la bază, pentru rotirea între poziţiile deschis şi închis; laminatul (2) cuprinde două straturi (3 şi 4) exterior şi interior, având două (5 şi 6) tăieturi care definesc două regiuni (8 şi 12) de strat exterior şi, respectiv, interior, mărginite de cele două tăieturi (5 şi 6), regiunea (12) de strat interior fiind situată în regiunea (8) de strat exterior; o parte a regiunii (8) de strat exterior este ataşată la o suprafaţă (31) interioară a capacului (30), astfel încât, pe măsură ce capacul (30) este rotit în poziţia sa deschis, regiunile (8 şi 12) de strat exterior şi interior sunt ridicate, determinând delaminarea straturilor (3 şi 4) exterior şi interior într-o regiune (15) periferică dintre cele două tăieturi (5 şi 6) şi o deschidere (19).

cover