DISPOZITIVE DE IZOLARE DEGRADABILE CU DETECTOARE ÎNCORPORATE

Price not visible for this package

Interest:

Assignment

Publication info:

No.: RO132819

Date: 28.09.2018

Inventor(s):

FRIPP MICHAEL LINLEY [US]

BROOME JOHN TODD [US]

WALTON ZACHARY WILLIAM [US]

Applicant(s):
HALLIBURTON ENERGY SERVICES INC [US]
Classification:
International patent classification (IPC):
E21B23/06; E21B33/12

Cooperative patent classification (CPC):
E21B33/12 (EP, GB, NO, US); E21B33/1208 (EP, GB, NO, US); E21B43/26 (EP, GB, US); E21B47/11 (NO, US)
Application info:
No.: RO20180000225
Date: 28.10.2015
Priority number(s):
WO2015US57866 28.10.2015
Related patents:
AR106127; AU2015413334; CA2995682; GB2556764; MX2018004998; MY190177; NO20180359; PL425056; US10472918; US2018252067; WO2017074364
BOPI:
Description:

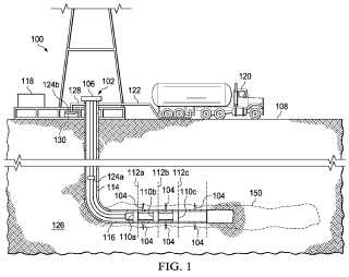
Invenţia se referă la dispozitive de izolare degradabile, cu detectoare încorporate, în general, dispozitive de izolare a puţului de foraj, şi la metode de fabricare a acestora. Dispozitivul conform invenţiei cuprinde o primă componentă care poate fi dizolvată, şi un prim marcaj de identificare ce identifică aparatul de izolare a puţului de foraj, şi care este dispus într-o primă poziţie a dispozitivului de izolare a puţului de foraj, în care primul marcaj de identificare poate fi eliberat din dispozitivul de izolare a puţului de foraj după dizolvarea primei componente care poate fi dizolvată. Metoda conform invenţiei, de realizare a unui dispozitiv de izolare a puţului de foraj, cuprinde formarea unei prime porţiuni care poate fi dizolvată a dispozitivului de izolare a puţului de foraj, şi dispunerea unui prim marcaj de identificare, la o primă poziţie în interiorul dispozitivului de izolare a puţului de foraj, primul marcaj de identificare identificând dispozitivul de izolare a puţului de foraj, în care prima porţiune care poate fi dizolvată este configurată să se dizolve, după ce a fost expusă la un fluid de foraj pentru o primă perioadă de timp, şi în care primul marcaj de identificare poate fi eliberat din dispozitivul de izolare a puţului de foraj, la dizolvarea primei porţiuni care poate fi dizolvată.

cover