DISPOZITIV PENTRU TRATAREA UNUI FIR, SISTEM PENTRU TRATAMENTUL UNUI FIR ŞI METODA DE TRATARE A UNUI FIR

Price not visible for this package

Interest:

Assignment

Publication info:

No.: RO127416

Date: 30.05.2012

Inventor(s):

CARNEVALE STEFANO [IT]

Applicant(s):
TECHNORES S R L [IT]
ECAFIL BEST S P A IND FILATI [IT]
Classification:
International patent classification (IPC):
D02J1/08

Cooperative patent classification (CPC):
D02J1/08 (EP, US)
Application info:
No.: RO20110001036
Date: 28.04.2010
Priority number(s):
IT2009FI00088 29.04.2009 ; WO2010IB01086 28.04.2010
Related patents:
RO127416; IT1393810; ITFI20090088; US2012042455; WO2010128392
BOPI:
Description:

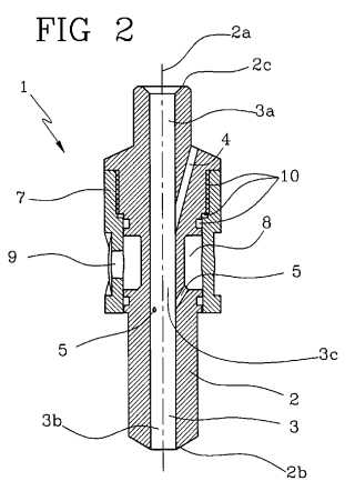
Invenţia se referă la un dispozitiv pentru tratarea unui fir, care poate fi introdus în interiorul unui sistem pentru tratamentul firului, aplicabil în industria textilă şi la o metodă de tratare a firului. Dispozitivul conform invenţiei cuprinde un corp () principal, de preferinţă, de formă cilindrică, având o cameră () de tratament formată în acesta, în interiorul căreia culisează un fir () şi cel puţin două canale () laterale, situate în comunicaţie de fluid cu camera () de tratament, pentru introducerea a cel puţin unei substanţe pentru tratarea firului () şi, respectiv, pentru introducerea de aer comprimat. Sistemul conform invenţiei este constituit din cel puţin o conductă () pentru alimentarea unui dispozitiv () cu o substanţă folosită pentru tratamentul unui fir (), o conductă () pentru introducerea de aer comprimat în interiorul dispozitivului () şi o conductă () de descărcare pentru ieşirea aerului comprimat şi a oricăror fibre posibil detaşate de pe fir (). Metoda conform invenţiei constă în aplicarea, în interiorul unui dispozitiv şi în condiţii de vacuum controlat, a uneia sau mai multor substanţe pe un fir, printr-un tratament continuu capabil să aplice într-o manieră controlată aceste substanţe pe fir, prin introducerea ulterioară a aceluiaşi fir într-un aparat de stabilizare la căldură, situat în exteriorul dispozitivului şi având funcţia de fixare a substanţelor pe acelaşi fir.

cover