DISPOZITIVE DE IZOLARE A PUŢULUI DE FORAJ CU BENZI DE ALUNECARE ŞI BENZI DE UZURĂ AVÂND SUPRAFEŢE MODIFICATE

Price not visible for this package

Interest:

Assignment

Publication info:

No.: RO132930

Date: 29.11.2018

Inventor(s):

FRIPP MICHAEL LINLEY [US]

GANO JOHN CHARLES [US]

WALTON ZACHARY WILLIAM [US]

Applicant(s):
HALLIBURTON ENERGY SERVICES INC [US]
Classification:
International patent classification (IPC):
E21B23/06; E21B33/12; E21B33/128; E21B34/06

Cooperative patent classification (CPC):
A61K33/08 (EP, US); A61K47/06 (US); A61K47/34 (US); A61K9/0014 (US); A61K9/0019 (US); A61K9/16 (US); E21B23/06 (NO); E21B33/12 (NO); E21B33/128 (GB, NO, US); E21B33/129 (GB); E21B33/1292 (EP, GB, US); E21B34/06 (NO); E21B23/06 (GB)
Application info:
No.: RO20180000359
Date: 29.12.2015
Priority number(s):
WO2015US67786 29.12.2015
Related patents:
AR106842; AU2015419156; CA3001556; GB2561090; MX2018006485; NO20180536; PL425683; US10677015; US2019055810; WO2017116409
BOPI:
Description:

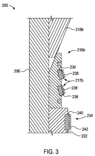
Invenţia se referă la nişte dispozitive de izolare a puţului de foraj cu benzi de alunecare şi benzi de uzură având suprafeţe modificate. Dispozitivele conform invenţiei pot fi produse cu benzi de uzură şi nişte elemente (216 a şi 216 b) glisante, având nişte suprafeţe (236, 240) modificate, pentru a modifica proprietăţile de frecare între aceste componente şi o suprafaţă (104) înconjurătoare a puţului (106) de foraj, de exemplu, un dispozitiv (116) de izolare a puţului (106) de foraj putând include un dorn (206), nişte elemente (216a şi 216 b) glisante, dispuse circumferenţial în jurul dornului (206), şi într-o primă poziţie de-a lungul dornului (206), în care elementele (216 a şi 216 b) glisante cuprind nişte particule (238) cuplate la acestea, alcătuind o suprafaţă (240) modificată, şi în care particulele (238) cuprind cel puţin nişte proeminenţe ascuţite şi cel puţin un element de pacher dispus de-a lungul dornului (206), şi într-o a doua poziţie, de-a lungul dornului (206).

cover