INEL DE LIMITARE A EXTRUDĂRII PENTRU DISPOZITIVE DE IZOLARE A GĂURII DE SONDĂ

Price not visible for this package

Interest:

Assignment

Publication info:

No.: RO132929

Date: 29.11.2018

Inventor(s):

MERRON MATTHEW JAMES [US]

NORMAN TYLER JOSEPH [US]

Applicant(s):
HALLIBURTON ENERGY SERVICES INC [US]
Classification:
International patent classification (IPC):
E21B23/06; E21B33/12; E21B34/06

Cooperative patent classification (CPC):
E21B23/06 (NO); E21B33/12 (NO); E21B33/1216 (EP, GB, US); E21B33/128 (GB, NO, US); E21B33/129 (GB, NO); E21B33/1293 (NO, US); E21B34/06 (NO)
Application info:
No.: RO20180000332
Date: 11.01.2016
Priority number(s):
WO2016US12877 11.01.2016
Related patents:
AU2016386404; CA3003893; GB2561460; MX2018006265; MY190038; NO20180614; NO345943; PL425490; SA518391609; US10711561; US2018313184; WO2017123198
BOPI:
Description:

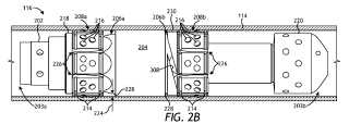
Invenţia se referă la un inel de limitare a extrudării pentru dispozitive de izolare a găurii de sondă, în domeniul forajului petrolier, al pregătirii sondelor pentru exploatare şi al stimulării sondelor producătoare de hidrocarburi, unde se utilizează o varietate de instrumente de foraj, de exemplu, în timpul operaţiilor de fracturare hidraulică fiind necesară etanşarea unor porţiuni ale unui puţ de foraj pentru a permite fluidului să fie pompat în gaura de sondă şi forţat să iasă, sub presiune, în formaţiunile subterane din jur, în acest scop fiind proiectate dispozitivele de izolare a puţurilor de sondă, cum ar fi pachere, obturatoare punte şi obturatoare de fracturare, denumite alternativ şi obturatoare ''frac''. Inelul conform invenţiei, pentru nişte dispozitive (116) de izolare a puţului de sondă, include un dorn (202) alungit, un element (204) de etanşare dispus pe dorn (202), şi o pană (206) culisantă, poziţionată în jurul dornului (202), alăturată adiacent elementului de etanşare (204), şi asigurând o suprafaţă (228) radială exterioară; un set (208) de segmente de alunecare este dispus circumferenţial în jurul dornului (202) şi cel puţin al unei porţiuni a penei (206) culisante, un inel (230) de limitare a extrudării având un corp inelar care asigură un prim capăt (203 a) axial, un al doilea capăt (203 b) axial şi o crestătură (308) în diagonală care se extinde cel puţin parţial între primul şi cel de-al doilea capăt (203 a şi 203 b) axial, inelul (230) de limitare a extrudării fiind deplasabil între o stare contractată, în care inelul (230) de limitare a extrudării este dispus în jurul elementului (204) de etanşare, şi o stare expandată, în care inelul (230) de limitare a extrudării este dispus în jurul suprafeţei (228) radiale exterioare a penei (206) culisante inferioare.

cover