ELEMENT DE CUPLAJ

Price not visible for this package

Interest:

Assignment

Publication info:

No.: RO133000

Date: 28.12.2018

Inventor(s):

BUZEA ION LUCIAN [RO]

BUTA ADRIAN-CONSTANTIN [RO]

Applicant(s):
SCHAEFFLER TECHNOLOGIES AG [DE]
Classification:
International patent classification (IPC):
F16D3/04; F16D3/16

Cooperative patent classification (CPC):
B60G7/00 (EP); B60G7/001 (EP); B62D7/228 (EP); B60G2206/111 (EP); F16B1/04 (EP); F16D41/069 (EP)
Application info:
No.: RO20170000372
Date: 13.06.2017
Priority number(s):
RO20170000372 13.06.2017
Related patents:
DE102018105302
BOPI:
Description:

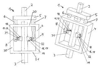
Invenţia se referă la un element de cuplaj pentru transferul unei mişcări liniare de la un element de intrare la un element de ieşire, destinat unui autovehicul. Elementul de cuplaj, conform invenţiei, este constituit din două elemente (2 şi 3), de intrare şi, respectiv, de ieşire, care sunt montate cu posibilitate de culisare într-o carcasă (4), elementul (2) de intrare este realizat în forma unei furci (5) având doi dinţi (6 şi 7), pe elementul (3) de ieşire sunt dispuse nişte elemente (8 şi 9) de blocare, care sunt conectate activ cu fiecare dintre dinţi (6 şi 7) şi cu carcasa (4), în aşa fel încât să fie posibil transferul unei mişcări liniare de la elementul (2) de intrare la elementul (3) de ieşire şi să blocheze un transfer al unei mişcări liniare a elementului (3) de ieşire la elementul (2) de intrare.

cover