ELEMENT DE ETANŞARE CU REŢINERE AL DISPOZITIVULUI DE IZOLARE A PUŢULUI DE SONDĂ CU ELEMENTE DE ALUNECARE

Price not visible for this package

Interest:

Assignment

Publication info:

No.: RO132990

Date: 28.12.2018

Inventor(s):

WALTON ZACHARY WILLIAM [US]

FRIPP MICHAEL LINLEY [US]

JURGENSMEIER MICHAEL JAMES [US]

GANO JOHN CHARLES [US]

Applicant(s):
HALLIBURTON ENERGY SERVICES INC [US]
Classification:
International patent classification (IPC):
C23C22/83; G01N1/28; G01N1/34

Cooperative patent classification (CPC):
E21B23/06 (EP, GB, NO, US); E21B29/02 (US); E21B33/1208 (EP, GB, NO, US); E21B33/128 (EP, GB, NO, US); E21B33/1285 (EP, GB, NO, US); E21B33/1293 (US)
Application info:
No.: RO20180000416
Date: 21.01.2016
Priority number(s):
WO2016US14225 21.01.2016
Related patents:
AU2016387242; CA3009146; GB2562386; MX2018007218; NO20180792; PL426008; US10605027; US2018328132; WO2017127075
BOPI:
Description:

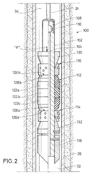
Invenţia se referă la un element de etanşare cu reţinere al dispozitivului de izolare a puţului de sondă cu elemente de alunecare şi, în general, la echipamente utile în operaţiuni referitoare la puţuri de sondă subterane, de exemplu puţuri de sondă utilizate pentru explorare, forare şi producţie de petrol şi gaze, mai specific exemplele de realizare referindu-se la un dispozitiv de izolare în care un element culisant extensibil este utilizat pentru a limita etrudarea elementului de etanşare într-o gaură de sondă. Elementul de etanşare cu reţinere al dispozitivului de izolare a puţului de sondă cu elemente de alunecare, conform invenţiei, are un instrument (100) de izolare a puţului de foraj, care cuprinde un element elastomeric pentru cuplarea cu un element de coloană de tubaj sau cu un alt element tubular într-o gaură (2) de sondă, instrumentul de izolare incluzând unul sau mai multe elemente culisabile extensibile pentru prinderea de elementul tubular şi menţinerea pe poziţie a instrumentului de izolare, iar elementul de etanşare are un capăt axial în contact direct cu o suprafaţă de rezemare a elementului culisabil extensibil, astfel încât elementul culisabil limitează, în cazul în care nu împiedică, extrudarea nedorită a elementului de etanşare, de exemplu, la fixarea instrumentului de izolare, elementele culisabile extensibile putând fi constituite dintr-o multitudine de elemente de alunecare, iar elementul de etanşare elastomeric poate curge în nişte spaţii definite între elementele de alunecare atunci când instrumentul de izolare este fixat, segmentele elementului culisabil şi alte componente ale instrumentului de izolare putând fi construite dintr-un material dizolvabil, pentru a facilita îndepărtarea instrumentului de izolare din puţul de foraj.

cover