REAZEM DE ŞA PENTRU O BICICLETĂ

Price not visible for this package

Interest:

Assignment

Publication info:

No.: RO133041

Date: 30.01.2019

Inventor(s):

COSGAREA RADU [RO]

DOGARIU DAN MIHAI [RO]

Applicant(s):
SCHAEFFLER TECHNOLOGIES AG [DE]
Classification:
International patent classification (IPC):
B62J1/00

Cooperative patent classification (CPC):
B62J1/08 (EP); B62J2001/085 (EP)
Application info:
No.: RO20170000498
Date: 20.07.2017
Priority number(s):
RO20170000498 20.07.2017
Related patents:
DE102018106852
BOPI:
Description:

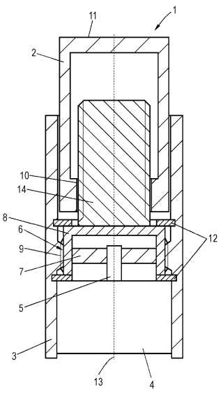
Invenţia se referă la un reazem de şa pentru o bicicletă. Reazemul conform invenţiei cuprinde un prim element (2) de reazem conectabil cu o şa de bicicletă, care este mobil în raport cu un al doilea element (3) de reazem, printr-un electromotor (4); electromotorul (4) şi primul element (2) de reazem sunt cuplate printr-un mecanism (6) de transmisie armonică, mecanismul (6) de transmisie armonică cuprinde un inel (7) rotativ, o roată (8) dinţată flexibilă, precum şi un inel (9) extern, roata (8) flexibilă este cuplată cu un bolţ (14) filetat, care este în angrenare cu o secţiune (10) filetată a primului element (2) de reazem.

cover