APARATE DE DIAGNOSTICARE A PUŢURILOR DE FORAJ

Price not visible for this package

Interest:

Assignment

Publication info:

No.: RO133054

Date: 30.01.2019

Inventor(s):

CANNING SEAN CHRISTOPHER [US]

Applicant(s):
HALLIBURTON ENERGY SERVICES INC [US]
Classification:
International patent classification (IPC):
E21B33/12; E21B43/16; E21B47/00

Cooperative patent classification (CPC):
E21B34/06 (US); E21B43/14 (EP, GB, US); E21B43/26 (US); E21B47/00 (DK); E21B47/11 (EP, GB, NO, US); E21B2200/06 (EP, US); E21B43/14 (NO)
Application info:
No.: RO20180000545
Date: 23.03.2016
Priority number(s):
WO2016US23734 23.03.2016
Related patents:
AU2016398430; CA3006848; DK201870514; EP3374601; GB2560845; MX2018008602; NO20181060; SG11201804164R; US2018363453; WO2017164863
BOPI:
Description:

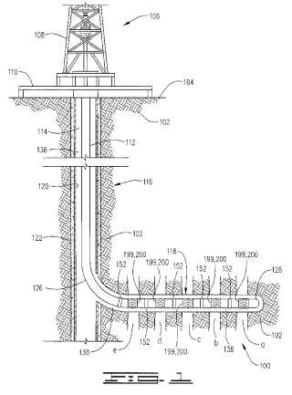
Invenţia se referă la nişte aparate de diagnosticare a puţurilor de foraj utilizate în domeniul puţurilor de sondă, pentru evaluarea fluidelor subterane. Aparatele, conform invenţiei, au în alcătuire o carcasă care defineşte un culoar central de curgere şi o multitudine de orificii care se extind printr-un perete al aparatului şi care intersectează culoarul central de curgere, iar un material indicator este poziţionat în cel puţin unul dintre orificii şi, odată poziţionat în cel puţin unul dintre orificii, materialul indicator este expus exteriorului carcasei şi fluidului din puţul de sondă.

cover