METODĂ ŞI DISPOZITIV PENTRU CONTROLUL DINAMIC AL UNUI ROBOT PĂŞITOR

Price not visible for this package

Interest:

Assignment

Publication info:

No.: RO125970

Date: 28.01.2011

Inventor(s):

VLĂDĂREANU LUIGE [RO]

VELEA LUCIAN MARIUS [RO]

MUNTEANU RADU ADRIAN [RO]

SIRITEANU TUDOR [RO]

MUNTEANU MIHAI STELIAN [RO]

TONT GABRIELA [RO]

VLĂDĂREANU VICTOR [RO]

BALAS CORNEL [RO]

TONT DAN GEORGE [RO]

MELINTE DANIEL OCTAVIAN [RO]

GAL IONEL ALEXANDRU [RO]

Applicant(s):
INST DE MECANICA SOLIDELOR AL ACADEMIEI ROMANE [RO]
Classification:
International patent classification (IPC):
B25J9/16; G05B19/18; G06F17/10

Cooperative patent classification (CPC):
B25J9/1633 (EP)
Application info:
No.: RO20100000052
Date: 21.01.2010
Priority number(s):
RO20100000052 21.01.2010
Related patents:
RO125970; EP2384863
BOPI:
Description:

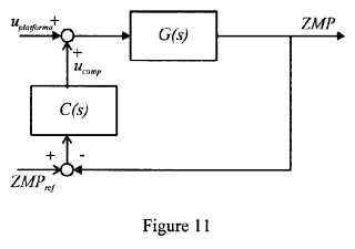
Invenţia se referă la o metodă şi la un dispozitiv de control dinamic al unui robot păşitor, destinat controlului în timp real a poziţiei traiectoriei de mişcare a vârfurilor şi articulaţiilor picioarelor robotului, forţelor de reacţiune şi dinamicii mersului robotului, în vederea creşterii stabilităţii deplasării, cu aplicaţii în transportul de materiale nucleare, în activităţi agricole, în aplicaţii militare, pentru detectarea minelor, şi, în general, în aplicaţii pe terenuri denivelate, greu accesibile. Metoda conform invenţiei constă din calcularea erorilor datorate componentelor de poziţie şi de forţă pe axele de libertate ale unui robot păşitor, precum şi a erorilor rezultate prin aplicarea unor strategii de control ale mersului dinamic stabil al robotului, unele semnale de eroare fiind controlate digital şi multiplexate după două strategii de control, iar un programator de strategii stabilind momentele acţionării fiecărei strategii de control, în funcţie de patru etape ale unui pas complet al robotului păşitor, şi un program de generare a schemei de mers a robotului generând un semnal de referinţă şi un semnal al poziţiei dorite, astfel că, în final, prin procesarea semnalelor de eroare utilizând fuziunea semnalelor rezultate din programatorul de strategii sau controlul fuzzy, se obţin semnalele de eroare pentru comanda actuatoarelor din cadrul structurii robotului păşitor, pe fiecare axă de mişcare. Dispozitivul folosit pentru punerea în aplicare a metodei este alcătuit dintr-un complex de module care au ca scop generarea semnalelor de eroare pe axele robotului, pe fiecare grad de libertate, pentru controlul actua

cover