BICICLETĂ CU UN MOTOR DE ANTRENARE

Price not visible for this package

Interest:

Assignment

Publication info:

No.: RO133268

Date: 30.04.2019

Inventor(s):

DOGARIU DAN MIHAI [RO]

COSGAREA RADU [RO]

Applicant(s):
SCHAEFFLER TECHNOLOGIES AG [DE]
Classification:
International patent classification (IPC):
B62M6/40

Cooperative patent classification (CPC):
B62M6/45 (EP); B62M6/65 (EP)
Application info:
No.: RO20170000800
Date: 06.10.2017
Priority number(s):
RO20170000800 06.10.2017
Related patents:
DE102018117587
BOPI:
Description:

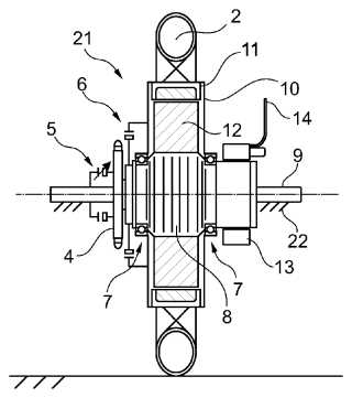
Invenţia se referă la o bicicletă electrică. Bicicleta conform invenţiei are un motor (21) de antrenare dispus pe un ax (9) al unei roţi (2) din spate, antrenabilă, care este fixat pe un butuc (8) de roată, şi cuprinde un stator (11) conectat antirotativ pe butucul (8) de roată, şi un rotor (12) dispus într-o carcasă (10), în care carcasa (10) este conectată la butucul (8) de roată printr-un cuplaj (6) de mers în gol, şi este montată, cu posibilitate de rotire pe butucul (8) de roată, prin cel puţin un element (7) de suport, în care motorul (21) de antrenare cuprinde un cuplaj (5) acţionabil, care este conectabil la axul (9) de roată, precum şi la o roată (4) de lanţ, fiind prevăzut să creeze o conexiune antirotativă între roata (4) de lanţ şi axul (9) de roată, pentru a susţine statorul (11) în timpul unei antrenări electrice pe axul (9) de roată, şi, suplimentar, un ansamblu (15) de ghidon dispus pe un ghidon (26), care cuprinde cel puţin o unitate (18) de reglare pentru acţionarea cuplajului (5) şi/sau pentru comanda motorului (21) de antrenare.

cover