UNITATE DE POMPARE CU PRĂJINI ŞI METODĂ DE ACŢIONARE

Price not visible for this package

Interest:

Assignment

Publication info:

No.: RO133281

Date: 30.04.2019

Inventor(s):

SINGAL KALPESH [US]

SIVARAMAKRISHNAN SHYAM [US]

BARTON JUSTIN EDWIN [US]

Applicant(s):
GEN ELECTRIC [US]
Classification:
International patent classification (IPC):
E21B43/12; E21B47/00

Cooperative patent classification (CPC):
E21B43/126 (EP, US); E21B47/008 (EP, US); F04B23/02 (US); F04B23/106 (EP, US); F04B35/00 (US); F04B47/02 (EP, US); F04B47/022 (EP, US); F04B49/06 (EP, US); F04B49/065 (US); F04B49/20 (US); F04B53/10 (US); F04B2201/1202 (US); F04B2201/121 (EP, US); F04B2203/0207 (EP, US)
Application info:
No.: RO20180000719
Date: 13.04.2017
Priority number(s):
US201615099342 14.04.2016 ; WO2017US27365 13.04.2017
Related patents:
AU2017248641; AU2023200140; CA3020177; CO2018012176; US10900481; US2017298925; WO2017180839
BOPI:
Description:

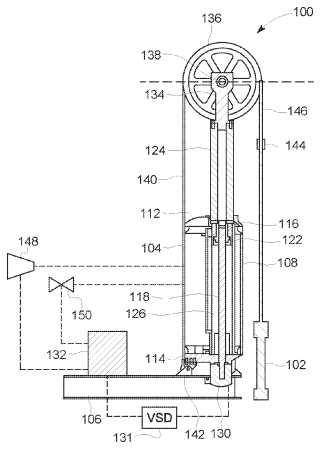
Invenţia se referă la o unitate de pompare cu prăjini şi, mai particular, la un regulator de unitate de pompare cu prăjini, şi la o metodă de acţionare pentru controlul unei contrabalansări în timpul funcţionării unităţii de pompare cu prăjini. Unitatea de pompare, conform invenţiei, are un regulator pentru acţionarea unui motor primar, care include un procesor configurat să acţioneze motorul primar pe o primă cursă şi pe o a doua cursă; mai este configurat să calculeze o primă valoare de dezechilibru a cuplului motorului pentru prima cursă, şi să cupleze ajustarea unei contrabalansări, să estimeze o a doua valoare de dezechilibru a cuplului motorului pentru a doua cursă; mai este configurat să decupleze ajustarea contrabalansării în timpul celei de-a doua curse, atunci când cea de-a doua valoare de dezechilibru a cuplului motorului ajunge la un prim interval de dezechilibru. În metoda conform invenţiei contrabalansarea cuprinde o forţă de contrabalansare generată de presiune într-un vas de presiune, care acţionează asupra unui plunger cuplat la motorul primar, şi în care calculul forţelor de contrabalansare estimate cuprinde estimarea unei multitudini de coeficienţi, pentru o aproximare polinomială a presiunii, ca o funcţie de poziţia cursei pe baza unei presiuni curente şi a poziţiei curente a cursei x, calcularea de presiuni estimate în vasul de presiune la poziţiile de cursă de vârf de cuplu pe baza aproximării polinomiale, a poziţiei curente a cursei x şi a multitudinii de coeficienţi, şi calcularea forţelor de contrabalansare estimate pe baza presiunilor estimate.

cover