SISTEM ŞI METODA REDUCEREA VOLUMULUI COMPONENTELOR UNUI REACTOR NUCLEAR

Price not visible for this package

Interest:

Assignment

Publication info:

No.: RO133587

Date: 30.08.2019

Inventor(s):

DEADMAN JASON [CA]

Applicant(s):
CANDU ENERGY INC [CA]
Classification:
International patent classification (IPC):
G21C19/02; G21F5/005

Cooperative patent classification (CPC):
B02C18/142 (EP); G21C1/20 (EP, KR); G21C19/02 (EP, KR); G21C19/14 (EP); G21C19/19 (EP); G21C19/207 (EP); G21C19/34 (EP); G21C19/36 (EP); G21C19/375 (EP); G21C3/33 (EP, KR); G21C5/06 (EP, KR); G21D1/003 (EP, KR); G21F5/005 (EP, KR); G21F9/28 (EP); G21F9/36 (EP); B23D21/00 (EP); Y02E30/00 (EP); Y02E30/30 (EP)
Application info:
No.: RO20180000140
Date: 28.02.2018
Priority number(s):
US201762524098P 23.06.2017
Related patents:
CA3066142; CN111095433; EP3642850; KR20200019890; WO2018232497
BOPI:
Description:

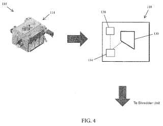
Invenţia se referă la un sistem şi la o metodă pentru reducerea volumului componentelor unui reactor nuclear. Sistemul conform invenţiei cuprinde: o unitate (114) de alimentare pentru primirea unui tub radioactiv de la un reactor nuclear, o unitate (118) de segmentare pentru primirea tubului de la unitatea de alimentare, unitatea de segmentare incluzând un element de tăiere care segmentează tubul în bucăţi, şi o unitate (142) de mărunţire, pentru primirea bucăţilor segmentate şi mărunţirea acestora. Metoda conform invenţiei cuprinde: scoaterea componentei din reactorul nuclear, deplasarea componentei, cu ajutorul unei unităţi de alimentare, la o unitate de segmentare, tăierea sau segmentarea componentei în bucăţi, cu ajutorul unui element de tăiere, în unitatea de segmentare, şi mărunţierea bucăţilor segmentate cu ajutorul unei unităţi de mărunţire.

cover