PS ENERG - SISTEM DE PRODUCERE A CURENTULUI ELECTRIC FOLOSIND VALURILE MARINE

Price not visible for this package

Interest:

Assignment

Publication info:

No.: RO132718

Date: 30.07.2018

Inventor(s):

POPA PETRE [RO]

Applicant(s):
POPA PETRE [RO]
Classification:
International patent classification (IPC):
E02F3/04

Cooperative patent classification (CPC):
F03B13/187 (EP); F03B13/24 (EP); F05B2260/64 (EP); Y02E10/30 (EP)
Application info:
No.: RO20180000170
Date: 09.03.2018
Priority number(s):
RO20180000170 09.03.2018
Related patents:
RO132718; EP3799611; WO2019172793
BOPI:
Description:

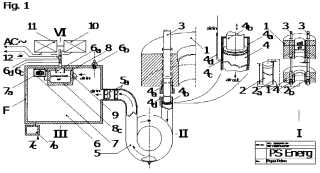
Invenţia se referă la un sistem de producere a curentului electric folosind valurile marine. Sistemul, conform invenţiei, este format din patru componente (I, II, III şi IV) de bază, produce energie electrică prin folosirea presiunii de aer obţinută prin acţionarea unuia sau mai multor flotoare (1) pompă, montate pe unul sau mai multe axuri fixate pe fundul mării sau oceanului la o distanţă convenientă de ţărm, aleasă în funcţie de înclinaţia, slopul şi adâncimea fundului mării sau oceanului şi funcţie de mărimea valurilor, de unde flotoarele (1) sunt conectate cu o conductă (5) de aer, componenta (II), un rezervor (6) general, componenta (III), în incinta căruia se află o pompă (9-9c) rotativă de înaltă presiune de aer, componenta (III), un rezervor (8) de înaltă presiune de aer, componenta (III), o cameră (7) de uscare a aerului (III) şi o cameră (6a) de uniformizare a fluxului aerului, componenta (III), de unde sunt conectate în continuare nişte coloane (6d, 12) ramificate de presiune, componenta (IV), care conectează nişte generatoare (10 şi 11) de curent electric, componenta (IV), prin intermediul conductei (6d), iar separat nişte coloane (12) de aer pentru uz menajer/industrial ca sursă suplimentară de energie, ambele în componentă (IV), făcând sistemul de producere a curentului electric şi aer, componentele (I...IV), să fie caracterizat prin aceea că aerul pompat de către flotoare (1) trece prin incinta unor conducte (5) de aer dublu spiralate prevăzute cu ventile rişlag montate la baza primei spirale de la intrarea aerului în coloană (5) în interiorul rezervorului (6) la baza căruia se află un rezervor (7b) de golire, de unde aerul este pompat la presiune de pompă (9-9c), în rezervorul (8) care este conectat cu camera (7) de uscare a aerului şi o cameră (6a), apoi prin coloană (6d, 12) de unde, deja extra-presurizat, aerul pătrunde prin conductă (6d) în turbinele (13) de aer ale generatoarelor (10 şi 11), respectiv în reţea (12), şi face sistemul funcţional.

cover