SISTEM DE ZĂVORÂRE

Price not visible for this package

Interest:

Assignment

Publication info:

No.: RO133623

Date: 30.09.2019

Inventor(s):

NIŢAN ILIE [RO]

MILICI LAURENŢIU DAN [RO]

POIENAR MIHAELA [RO]

CERNUŞCĂ DUMITRU [RO]

PAŢA SERGIU DAN [RO]

PIANÎH ALEXEI [MD]

PENTIUC RADU DUMITRU [RO]

POPA CEZAR DUMITRU [RO]

RAŢĂ MIHAI [RO]

UNGUREANU CONSTANTIN [RO]

Applicant(s):
UNIV STEFAN CEL MARE DIN SUCEAVA [RO]
Classification:
International patent classification (IPC):
E05B27/06

Cooperative patent classification (CPC):
E05B47/0009 (EP)
Application info:
No.: RO20180000157
Date: 07.03.2018
Priority number(s):
RO20180000157 07.03.2018
Related patents:
EP3536880
BOPI:
Description:

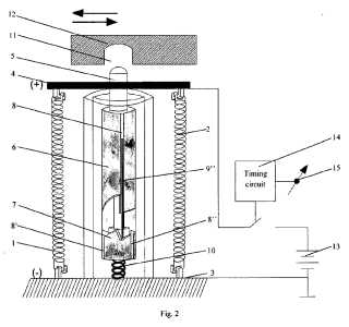
Invenţia se referă la un sistem de zăvorâre realizat pe baza a două elemente elastice, Nitinol, material cu memoria formei, destinat blocării uşilor şi obloanelor, în vederea asigurării unor construcţii sau instalaţii. Sistemul de zăvorâre, conform invenţiei, este constituit din două arcuri (1 şi 2) din Nitinol, prinse la un capăt de o placă (3) fixă, iar la celălalt capăt, de o placă (4) mobilă care face corp comun cu un element (5) de zăvorâre a cărui deplasare bidirecţională, obţinută prin încălzirea arcurilor (1 şi 2), controlează poziţia a două came (6 şi 7) prin intermediul unor canale (8,8' şi 8'') de ghidare pe nişte caneluri (9, 9' şi 9'') şi duce la blocarea sau deblocarea unui element (12) mobil.

cover