METODĂ ŞI DISPOZITIV DE DETECŢIE A UNOR COMPUŞI BIOACTIVI, DE EX. CITOTOXICI, UTILIZÂND SENZORI CU CELULE STIMULATE

Price not visible for this package

Interest:

Assignment

Publication info:

No.: RO133794

Date: 30.12.2019

Inventor(s):

GHEORGHIU MIHAELA [RO]

GHEORGHIU EUGEN [RO]

Applicant(s):
CENTRUL INT DE BIODINAMICA [RO]
Classification:
International patent classification (IPC):
G01N27/02

Cooperative patent classification (CPC):
G01N27/021 (US); G01N27/026 (EP); G01N33/48728 (EP, US); G01N33/5041 (US); G01N27/3273 (US)
Application info:
No.: RO20180000420
Date: 13.06.2018
Priority number(s):
RO20180000420 13.06.2018
Related patents:
US11680939; US2019383791
BOPI:
Description:

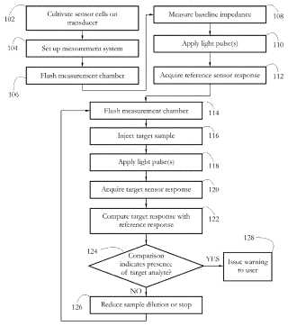
Invenţia se referă la o metodă şi la un dispozitiv de detecţie a unor compuşi bioactivi, de exemplu citotoxici, dintr-o probă. Metoda, conform invenţiei, constă în aceea că se perturbă controlat cu un stimul ad hoc fizic, chimic sau biologic, starea uneia sau mai multor celule cu rol de senzor, după care se declanşează procese de revenire la valori fiziologice sau staţionare, monitorizate prin analize cantitative electrice şi/sau optice, procesele fiind influenţate de tipul şi prezenţa compuşilor citotoxici din proba pusă în contact cu senzorul. Dispozitivul, conform invenţiei, este format dintr-un senzor (1) de tip celule cultivate pe suprafaţa unui traductor (2) aflat într-o incintă (3) de măsură, având integrat un sistem (4) de stimulare cu rol perturbator, o incintă (5) care asigură parametrii de mediu cu valori controlate, un sistem (6) de monitorizare/analiză, cuplat cu un sistem (7) de procesare şi afişare a informaţiei.

cover