PROCEDEU ŞI INSTALAŢIE PENTRU PRODUCEREA DE ÎNGRĂŞĂMÂNT GRANULAT

Price not visible for this package

Interest:

Assignment

Publication info:

No.: RO130168

Date: 30.04.2015

Inventor(s):

BESEDIN ALEKSEI BORISOVICH [RU]

SHNEPP YURY BORISOVICH [RU]

BAKLAN GEORGY SERGEEVICH [RU]

DUNAEVA OLGA ALEKSANDROVNA [RU]

RODIONOV ALEKSANDR SERGEEVICH [RU]

KIZIMENKO VALENTINA LEONIDOVNA [RU]

PROKOPYEV ALEKSANDR ALEKSEEVICH [RU]

KUZNETSOV NIKOLAI MIKHAILOVICH [RU]

Applicant(s):
OTKRYTOE AKTSIONERNOE OBSCHESTVO RES & DESIGN INST OF UREA AND ORGANIC SYNTHESIS PRODUCTS OAO NIIK [RU]
Classification:
International patent classification (IPC):
B01J2/04; C05C1/02; C05G5/12; C07C7/00

Cooperative patent classification (CPC):
C05C1/02 (EP, US); C05C9/005 (EP); C05G5/12 (EP, US)
Application info:
No.: RO20140000759
Date: 04.04.2013
Priority number(s):
RU20120114061 10.04.2012 ; WO2013RU00317 04.04.2013
Related patents:
RO130168; EE05764; EE201400036; IN8239DEN2014; RU2491262; UA111412; WO2013154470
BOPI:
Description:

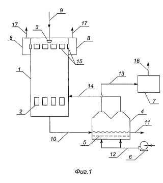
Invenţia se referă la un procedeu şi la o instalaţie pentru producerea de îngrăşământ granulat. Procedeul conform invenţiei include pulverizarea îngrăşământului topit în partea superioară a turnului de granulare, răcirea şi solidificarea picăturilor topite aflate în cădere la contactul cu curentul de aer ascendent, transportarea granulelor de la partea inferioară a turnului la unitatea exterioară de pat fluidizat, pentru răcirea lor, urmată de încărcare, alimentarea aerului către unitatea patului fluidizat şi îndepărtarea aerului de răcire încărcat cu praf de la unitatea patului fluidizat, aerul ce părăseşte turnul fiind purificat, iar granulele transportate către unitatea patului de fluidizare printr-o mişcare pe orizontală şi printr-o îndepărtare separată a aerului din cel puţin două zone ale unităţii, aerul de la prima zonă a unităţii patului de fluidizare de pe linia de deplasare a granulelor fiind alimentat la dispozitivul pentru purificarea aerului, iar aerul de la zonele subsecvente ale unităţii patului de fluidizare este alimentat la turn. Instalaţia conform invenţiei conţine un turn (1) de granulare cu nişte deschideri (2) pentru alimentarea aerului, un dispersor (3) de aer, o unitate (4) a patului fluidizat cu o placă (5) de distribuţie, un dispozitiv (7) de purificare pentru aerul de la unitate (4), un dispozitiv (8) de purificare de la turn (1), o conductă (9) pentru alimentarea îngrăşământului topit către dispersor (3), o unitate (10) de transport pentru alimentarea granulelor, o unitate (11) de transportare pentru alimentarea granulelor de la o unitate (4) către depozitare, o conductă (12) de aer pentru alim

cover