RECUPERARE ÎMBUNĂTĂŢITĂ A PETROLULUI PE BAZĂ DE SOLVENT MISCIBIL

Price not visible for this package

Interest:

Assignment

Publication info:

No.: RO134124

Date: 29.05.2020

Inventor(s):

BABCOCK JOHN A [US]

SIESS CHARLES P III [US]

WATTS KEVIN G [US]

Applicant(s):
BABCOCK JOHN A [US]
LINDE AG [DE]
Classification:
International patent classification (IPC):
C09K8/58

Cooperative patent classification (CPC):
C09K8/58 (EP, US); C09K8/584 (US); C09K8/594 (EP, US); E21B43/16 (RU, US)
Application info:
No.: RO20180000785
Date: 19.12.2016
Priority number(s):
US201662319856P 08.04.2016 ; WO2016US67454 19.12.2016
Related patents:
AR108113; CA3019758; CA3019785; CN109476983; MX2018012187; RU2714400; SA518400194; TW201741544; US10781359; US10829682; US2017292059; US2017292354; WO2017176331; WO2017176332
BOPI:
Description:

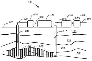
Invenţia se referă la o metodă îmbunătăţită de recuperare amplificată a petrolului folosind un sistem pe bază de solvent miscibil. Metoda conform invenţiei constă în injectarea fluidului (260) de injecţie miscibil în rezervorul (250) care conţine hidrocarburi, urmat de injectarea fluidului (270) de control al mobilităţii în acelaşi rezervor (250), în sonda (200) de injecţie este pompat un volum presurizat de fluid (260) de injecţie miscibil, cum ar fi GNL de clasă Y furnizat din rezervoarele (145) de stocare, şi injectat în rezervorul (250) cu hidrocarburi, la o presiune la care fluidul (260) injectabil miscibil rămâne miscibil cu hidrocarburile lichide din rezervorul (250), apoi un volum presurizat al fluidului (270) de control al mobilităţii, cum ar fi apa, dioxidul de carbon şi/sau azotul furnizat din rezervoarele (145) de stocare, este pompat în sonda (200) de injecţie şi injectat în rezervorul (250) cu hidrocarburi, metoda de recuperare fiind realizată cu ajutorul unor instalaţii de injecţie aflate la suprafaţă (110), care includ unul sau mai multe rezervoare (145) de stocare conectate prin conductă (140) la una sau mai multe pompe (130) de injecţie, pentru injectarea fluidelor în sonda (200) de injecţie printr-o conductă (120), au mai multe separatoare (160) care primesc fluidele produse din sonda (210) de producţie, printr-o conductă (150), şi separă lichidele şi gazele din fluidele produse, lichidele separate fiind transportate prin conductă (170) şi depozitate în rezervoarele (180) de stocare, iar gazele separate sunt transportate prin magistrală (190).

cover