INSTRUMENT ŞI METODĂ DE INSPECTARE A ANSAMBLULUI DE CANALE DE COMBUSTIBIL AL UNUI REACTOR NUCLEAR

Price not visible for this package

Interest:

Assignment

Publication info:

No.: RO134274

Date: 30.06.2020

Inventor(s):

DI CARLO KEVIN [CA]

JAMIESON ROB [CA]

DEADMAN JASON [CA]

Applicant(s):
CANDU ENERGY INC [CA]
Classification:
International patent classification (IPC):
G02B13/22; G21C17/08

Cooperative patent classification (CPC):
G02B23/2407 (EP, KR); G02B23/2476 (EP, KR); G02B23/2492 (EP, KR); G21C1/20 (EP, KR); G21C17/003 (EP, KR); G21C17/017 (EP, KR); Y02E30/30 (EP)
Application info:
No.: RO20190000667
Date: 26.04.2018
Priority number(s):
US201762490405P 26.04.2017 ; WO2018CA50490 26.04.2018
Related patents:
CA3061072; CN111052261; KR20190140032; WO2018195663
BOPI:
Description:

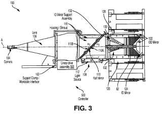
Invenţia se referă la un aparat şi la o metodă de inspectare a unei suprafeţe interioare şi a unei suprafeţe exterioare ale unui element al unui ansamblu de canale de combustibil din interiorul unui reactor nuclear. Aparatul conform invenţiei cuprinde: un dispozitiv de imagistică poziţionat astfel încât să capteze date de imagine ale unui câmp vizual al dispozitivului de imagistică, şi un ansamblu reflector cuprinzând un prim reflector având o suprafaţă reflectorizantă şi fiind orientat sub un prim unghi şi poziţionat în raport cu zona subiect, astfel încât să reflecte o primă porţiune a zonei subiect, reprezentativă pentru o vedere radial interioară a primei porţiuni a suprafeţei exterioare a elementului, pentru a fi în câmpul vizual al dispozitivului de imagistică, şi un al doilea reflector având o suprafaţă reflectorizantă şi fiind orientat sub un al doilea unghi şi poziţionat în raport cu zona subiect, astfel încât să reflecte o a doua porţiune a zonei subiect, reprezentativă pentru o vedere radial exterioară a unei prime porţiuni a suprafeţei interioare a elementului, pentru a fi în câmpul vizual al dispozitivului de imagistică. Metoda conform invenţiei cuprinde reflectarea a cel puţin una dintre: o vedere radial interioară a unei prime porţiuni a suprafeţei exterioare a elementului, pentru a fi în câmpul vizual al unui dispozitiv de imagistică, şi o vedere radial exterioară a unei prime porţiuni a suprafeţei interioare a elementului, pentru a fi în câmpul vizual al dispozitivului de imagistică, şi captarea datelor de imagine de către dispozitivul de imagistică.

cover